|
1
Mittelteil mit Optik; 2 Endrohre mit Basisköpffen; 3 Konsole;
4 Drehbeinstativ; 5 Gummipolster; 6 Blenden; 7 Okular für den E-Meßmann, 8 Handrad zum Richten nach der Höhe;
9 Höhenberichtigungsknopf, Lasthaken
1
Mittelteil ; 3 Konsole, 4 Drehbeinstativ, 7 Okular, 8 8 Handrad zum Richten nach der Höhe;
12/13/14 Flansche und Klammern zur Befestigung der Endrohre,
15 Gehäuse des Höhenmessers,
16 Entwässerungshahn, Korrekturbalken des Kompensators, 18
Platte, 19 Grobvisier, 20 Schutzring, 21
Nivellierungseinrichtung, 22 Höhenwinkelskala, 23
Vergrößerungsglas, 24 Auflagen für E-Meßrohr; 25 Handrad
für Seitenwinkel, 26 Schneckengetriebe
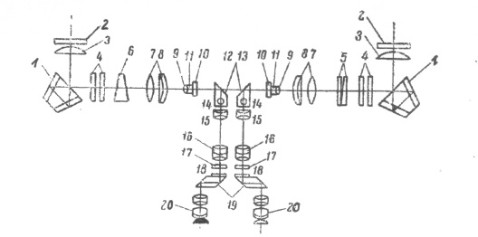
optisches
Schema das Entfernungsmessers DJA

1
Endprisma; 2 Schutzglas, 3 Linsen, 4 Schutzgläser, 5
Prismen zur Höhenmessung, 6 Prisma zur Entfernungsmessung, 7
bikonvexe Linse, 8, positiver Meniskus, 9/10/11 Linsensystem
für Beleuchtung der Meßmarken und Meßmarken 12/13/14/15 Prismen,16Umkehrlinsen,
17 Filter, 18/19
Sammellinsen/Rombenprismen, 20 Linsen
des Okulars, davor bikonkave und bikoverxe Linse
Zeichnungen: |